ワイヤ用エコライザシーフアールアイローリング
用途
- 工事工程
- 鉄骨工事
- 商品分類
- 機械工具関係
吊り用滑車として、トラスや長梁の均等吊りや、柱などの立て起こしの均等吊りに。
特長
- 吊り用滑車でワイヤを調整し、すべての吊り位置が均等に吊り上げ可能
- トラスや長梁など、天秤では対応しきれない長尺物も対応可能
仕様
| 商品名 | 型式 | 自重(kg) |
|---|---|---|
| アールアイローリング10ton | RIR-10 | 28 |
| アールアイローリング20ton | RIR-20 | 75 |
| アールアイローリング50ton | RIR-50 | 300 |
※自重はシャックルを含む
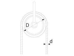
ワイヤの折り曲げによる強度低下率
| ロープの構成 \ D/d | 1 | 5 | 10 |
|---|---|---|---|
| 6×24O/O | 50 | 30 | 25 |
| 6×37O/O | 45 | 22 | 10 |
| IWRC6×F(i 29)O/O | 45 | 25 | 15 |
アールアイローリングのシーブピッチ円の直径は、ワイヤ径の10倍を確保しております。
ワイヤ(d)の折り曲げ応力はシーブ(D)が小さいほど強度は低下します。
アールアイローリング 10t (RIR-10)
ワイヤJIS6×37O/O推奨
アールアイローリング 20t(RIR-20)
ワイヤJIS6×37O/OまたはIWRC6×Fi(29)O/O推奨
※17ton吊り以上はIWRCを選定してください。
アールアイローリング 50t(RIR-50)
ワイヤJIS6×37O/OまたはIWRC6×Fi(29)O/O推奨
※50ton吊りはIWRCを選定してください。
注意事項
- ワイヤや荷の動きにご注意ください。
- ワイヤは別途販売となります。
- 上部シャックルは付属しております。滅失にご注意ください。
フォームが表示されるまでしばらくお待ち下さい。
恐れ入りますが、しばらくお待ちいただいてもフォームが表示されない場合は、こちらまでお問い合わせください。






用途

レンタルの流れ
よくあるご質問
当社商品見分け方
コラム
メルマガ購読
ネットショップ
お問い合わせ